Electrical Wiring

iMR320 supports up to one HV power supply or dual DC power supplies. The connections for the power supply are located on the terminal block.



Hi-Pot Testing Instructions for High Voltage Power Supplies

Hi-Pot Testing is a dielectric test meant to ensure that no current will flow from one point to another point. This test necessarily involves high voltages and must only be performed by qualified electrical engineers and technicians.



The following instructions apply to High Voltage Power Supplies

  1. Disconnect the Terminal Block Mating Connector from the MicroRAPTOR unit.
  2. Apply 1.5KV for 10 seconds between Line input pin of the HV power path (refer to the terminal block label) and the chassis ground (the stud). Ensure that leakage current is less than 20mA for a pass.
  3. Apply 1.5KV for 10 seconds between the Neutral input pin of the HV power path (refer to the terminal block label) and the chassis ground (the stud). Ensure that leakage current is less than 20mA for a pass.
  4. Attach the Terminal Block Mating Connector back to the MicroRAPTOR unit.

Hi-Pot testing on the High Voltage Power supply is complete.

Hi-Pot Testing Instructions for Medium Voltage Power Supplies

Hi-Pot Testing is a dielectric test meant to ensure that no current will flow from one point to another point. This test necessarily involves high voltages and must only be performed by qualified electrical engineers and technicians.



The following instructions apply to Medium Voltage Power Supplies

  1. Disconnect the Terminal Block Mating Connector from the MicroRAPTOR unit.
  2. Apply 500V for 10 seconds between the positive input pin of the MV power path (refer to the terminal block label) and the chassis ground (the stud). Ensure that leakage current is less than 20mA for a pass.
  3. Apply 500V for 10 seconds between the negative input pin of the MV power path (refer to the terminal block label) and the chassis ground (the stud). Ensure that leakage current is less than 20mA for a pass.
  4. Attach the Terminal Block Mating Connector back to the MicroRAPTOR unit.

Hi-Pot testing on the Medium Voltage Power supply is complete.

Power Inputs and Fault Relay

The relay contact of the terminal block connector is used to detect user-configured events. The switch provides fail open and fail close contacts to form relay circuits based on requirements. If the device is not powered, or if an active alarm is present, the relay de-energizes, therefore initiating the NO and NC states. The contacts are energized upon power up of the unit and remain energized unless a critical error occurs. One common application for this output is to raise an alarm if a power failure or removal of control power occurs.

Summary
Table 1. Relay States
Event NO (Normally Open) NC (Normally Closed)
No Alarm Closed Open
Alarm Present Open Closed

Connecting AC Power

All equipment must be installed according to applicable local wiring codes and standards.

Always use cables that are rated for the operating ambient temperature of 85°C.

For 100-240 VAC rated equipment, protection for earth fault is provided by max. 20 A branch circuit from AC input in building installation. The protection in the building installation is relied upon for short-circuit backup protection.

  • The specification for AC breaker is 5 A, 2P, 277 VAC (min) Circuit breaker, Thermomagnetic or equivalent type.
  • The plug connector and wire gauge sizing is to be selected with appropriate design as per the Electrical code for a 60W, 1-phase device.
Note for IT power distribution systems:
  1. This product is also designed for IT power distribution system with phase-to-phase voltage 230 V.
  2. This equipment must be connected to an earthed mains socket-outlet.

Before attaching wires to the lug type terminal block remove the protector cover, shown in Figure 1. Re-attach the cover once the wires have been screwed in place.

Figure 1. Protective cover for lug terminal block, showing its placement


Figure 2. 100-240 VAC Wiring Diagram, raw wire terminal block


Figure 3. 100-240 VAC Wiring Diagram, lug terminal block




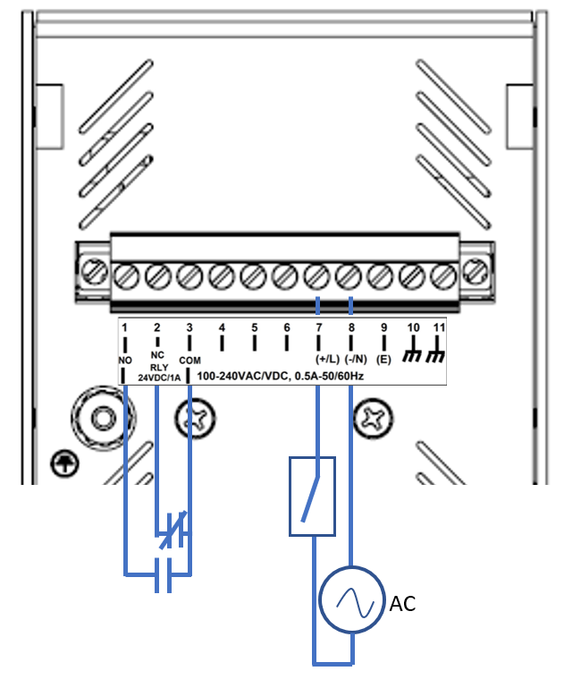
To establish AC power connection with the power source turned off, follow the steps below. When following the instructions, refer to Figure 2.

  1. Connect the ground from the first power source to GND terminal screw (screw #9).
  2. Connect the Live from the first power source to the PWR V+/L terminal screw (screw #7).
  3. Connect the Neutral from the first power source to the PWR V-/N terminal screw (screw #8).

To keep the wires from pulling loose, use a small flat-blade screwdriver to tighten the wire-clamp screws on the front of the terminal block connector.

  1. After wiring is completed, it is recommended that strain relieving tie wraps be installed. See section Strain Relief Feature
  2. Connect screw #5 to the ground of the chassis.

Connecting DC (100-240VDC) Power

Figure 4. 100-240 VDC Wiring Diagram, raw wire terminal block


Figure 5. 100-240 VDC Wiring Diagram, lug terminal block


For 100-240 VDC rated equipment, an appropriately rated DC circuit breaker must be installed.
  • The specification for HV DC breaker is 5 A, 2P, 300 VDC (min) Circuit breaker, Thermomagnetic or equivalent type. A recommended option for this circuit breaker is: Model No. CX2-B0-14-450-22A-13G, Molded Case Circuit Breaker, 2 P, 5 A, 250/500 VDC.
  • Wire gauge sizing is to be selected with appropriate design as per the Electrical code for a 60 W, 1-phase device.

Equipment must be installed according to applicable local wiring codes and standards.

With the power source turned off, refer to figure Figure 4 and perform the following steps:

For a DC Power Supply, carry out steps 1 through 2.

  1. Connect the positive wire from the power source to the positive/live (+/L), screw #7, terminal on the terminal block.
  2. Connect the negative wire from the power source to the neutral/negative (-/N), screw #8, terminal on the terminal block.

After wiring is completed, perform the following:

  1. Connect screw #9 to the ground of the chassis. The ground terminal is used as the ground conductor for surge and transient suppression circuitry internal to the unit.

Connecting DC (24VDC or 48VDC) Power

Figure 6. 24VDC or 48VDC Wiring Diagram


Figure 7. 24VDC or 48VDC Wiring Diagram


Equipment must be installed according to applicable local wiring codes and standards.

With the power source turned off, refer to figure Figure 6 and perform the following steps:

For a DC Power Supply in PS1, carry out steps 1 through 2.

  1. Connect the positive wire from the power source to the positive/live (+/L), screw #1, terminal on the terminal block.
  2. Connect the negative wire from the power source to the neutral/negative (-/N), screw #2, terminal on the terminal block.

If a DC Power Supply has been installed in PS2, perform the following steps.

  1. Connect the positive wire from the power source to the positive/live (+/L), screw #4, terminal on the terminal block.
  2. Connect the negative wire from the power source to the neutral/negative (-/N), screw #5, terminal on the terminal block.

After wiring is completed, perform the following:

  1. Connect screw #3 to the ground of the chassis. The ground terminal is used as the ground conductor for surge and transient suppression circuitry internal to the unit.

Connecting Ground Wire for Safety Precautions

Figure 8. Connecting Ground Wire




Figure 9. Connecting the braided cable from screw #4 to the chassis. Raw wire terminal block.


Figure 10. Connecting the braided cable from screw #4 to the chassis. Lug terminal block.


Using a braided wire or another appropriate grounding wire, connect the chassis ground connection of the device. The ground screws on the terminal block used for this connection depend on the power supply on the device. Refer to the terminal block label.

Strain Relief Feature

The iMR320 provides clips for strain relief to the power cables.
Figure 11. Using strain relief


Note:

iS5 recommends using the strain relief clips provided.

  1. Pass the cable through the strain relief clips.
  2. Snap the clips in place.

The cable will not be hanging freely from the terminal block, instead it will be more securely attached to the iMR320.

Periodically inspect the clips for signs of wear. Replace if they are showing cracks or becoming brittle with age.